Японская марка запатентовала дизайн необычного мотоцикла с тремя колёсами. Если, конечно, это можно назвать мотоциклом.
Экстравагантный Kawasaki J Concept с электродвигателем и тремя (а вернее — четырьмя) колёсами впервые появился в 2013 году на Токийском автосалоне. Его ближайший соперник Yamaha Niken по сравнению с ним выглядит заурядно, J Concept напоминает световой мотоцикл из фильма «Трон: наследие», согрешивший с Трансформерами. Но есть одно важное отличие: трёхколёсная Yamaha уже давно выпускается серийно, а Kawasaki так и остаётся лишь шоу-стоппером и главным героем нескольких футуристичных видеороликов.
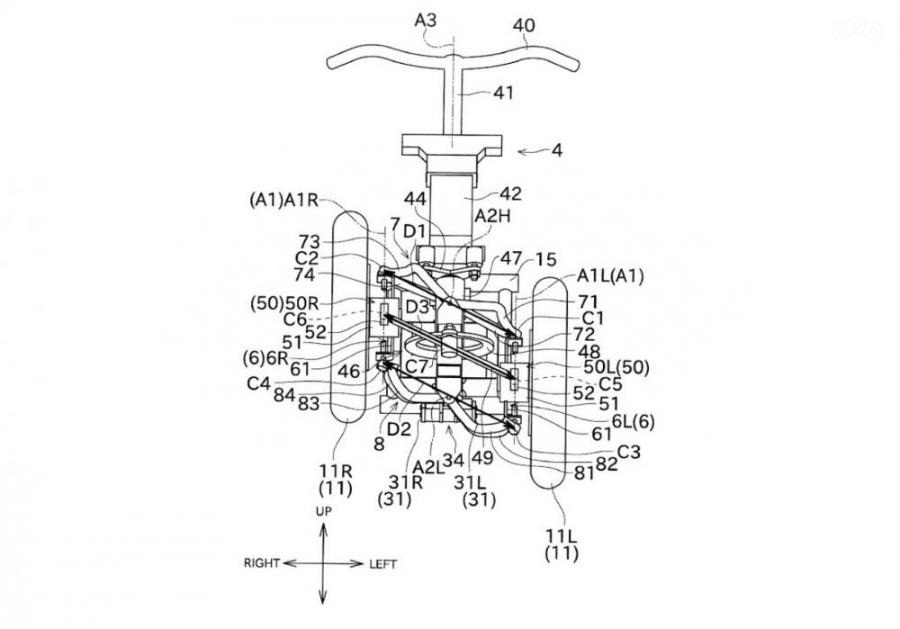
Но всё меняется, и, судя по патентным документам, Kawasaki J тоже отправляется в серию. Глядя на чертежи, мы видим, что концепт потеряет свои главные отличительные особенности — изменяемое расстояние между передними колёсами и регулируемую высоту руля, каждая половина которого была соединена с одним из двух передних колёс.. Такая вариативность позволяла настроить геометрию не только на спортивный (минимальная высота руля, передние колёса находятся максимально близко) и городской режим (вертикальная посадка, передние колёса на максимальном расстоянии), но и на любое промежуточное положение между ними, причём прямо во время поездки.
Наклон мотоцикла будет осуществляется за счёт вертикального перемещения друг относительно друга передних колёс, имеющих общий передний моноамортизатор.
Пока не ясно, получит ли Kawasaki J электрический или гибридный двигатель, в просочившихся в прессу документах нет информации о его силовой установке.



Не совсем понятно как он будет управляться на малых скоростях? Как руль то поворачивать?
Ash, от себя и к себе. Все как с обычным рулем. КМК.