HD планирует устанавливать дополнительный гироскоп на некоторые модели. В результате мотоциклы должны перестать падать на околонулевых скоростях.
Система была запатентована в прошлом месяце, как “гироскопичекое вспомогательное устройство с корректирующей тягой”. Попросту говоря, инженеры Harley хотят сделать мотоциклы самобалансирующими.
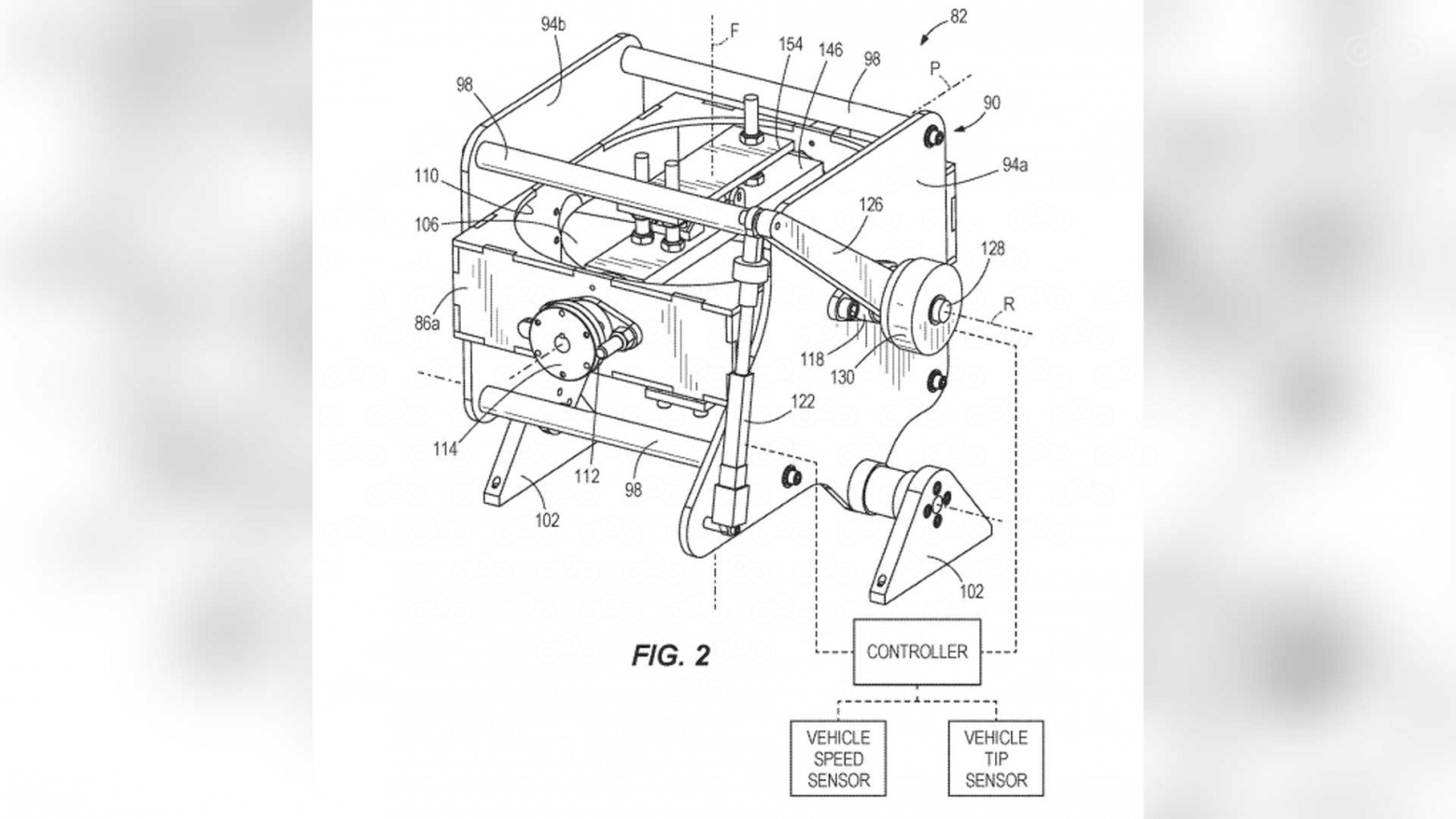
Узел представляет собой маховик с датчиками скорости и наклона — по сути, это старый добрый гироскоп. Система выявит наклон на малой скорости и компенсирует его при помощи вращения маховика, управляемого компьютером, чтобы помочь водителю не уронить мотоцикл. Устройство будет размещаться в задней части мотоцикла, предположительно в верхнем кофре.
Скорость вращения маховика может достигать 40000 оборотов в минуту, он будет вращаться постоянно для того, чтобы быть готовым к работе в нужный момент, однако когда мотоцикл будет набирать скорость, он будет работать на минимальных оборотах, чтобы не оказывать влияния на управляемость во время поворотов.
Пока не сообщается, какие именно модели мотоциклов получат новую систему, однако она, безусловно, станет ещё одним поводом для начинающих и не слишком мускулистых мотоциклистов выбрать именно Harley-Davidson.

Кажется, Харлеям будет очень в тему такая фишка вкупе с электронным ключом-меткой — просто остановился на парковке и пошёл) Стиль!
Jackson, забавное нечто :-)
ну а гироскоп с вращением 40к оборотов - как оно будет себя вести при столкновении? А при таране расторопного водителя в зад? :-) или оно будет самоуничтожать все что попадётся по пути?
Окончательно перестанут вваливаться в повороты. ))) Ездить на них смогут дяди 100+ кило и не меньше.
tualatin, дык гироскоп будет распрямлять дорогу перед райдером, всё продумано!
Jackson, ёпт. Такого я еще не курил.