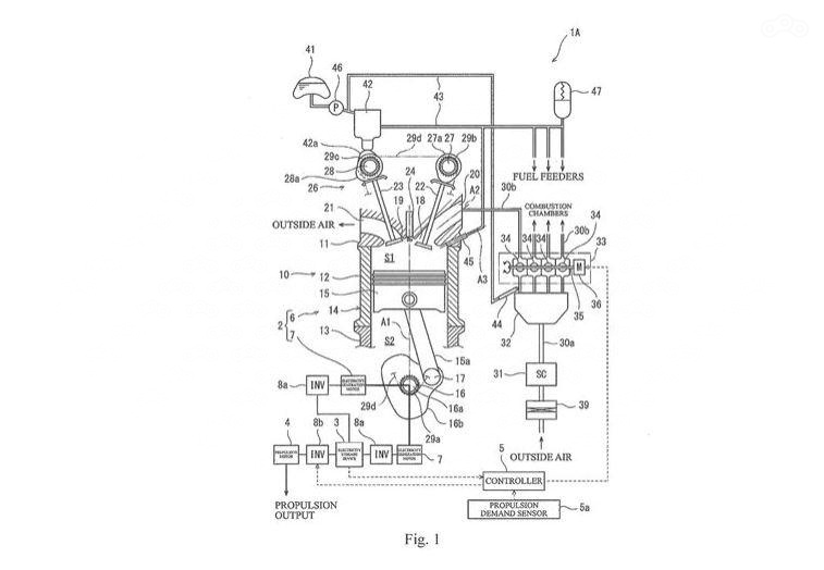
Японские инженеры работают над 4-цилиндровым двухтактным двигателем с наддувом и крестообразным коленчатым валом.
Источником информации стало японское патентное ведомство (JPO), где была зарегистрирована необычная разработка Kawasaki. На чертежах виден двухтактник с двумя верхними распредвалами, который, судя по всему, будет работать, как часть гибридной системы, то есть будет передавать мощность не на колесо, а на генератор. Это позволит ему работать в узком диапазоне оборотов, а значит, инженеры смогут настроить его так, что выхлопные газы будут малотоксичны.
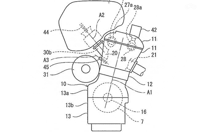
Новый мотор получит нагнетатель на впуске, который сделает его ещё более экологичным. В отличие от традиционных двухтактных двигателей с газораспределением через окна в стенках цилиндров, новинка от Kawasaki будет использовать для этого впускные и выпускные клапаны, расположенные на верхней поверхности камер сгорания, приводимые в движение двумя распредвалами. В отличие от четырёхтактного мотора, в этом случае и впускные, и выпускные клапаны будут открываться почти одновременно во время продувки камер сгорания. У нового двигателя крестообразный коленвал, зажигание рабочей смеси будет происходить последовательно в 1, 3, 2 и 4 цилиндрах через каждую четверть оборота.
Подобные двигатели, правда, намного больших размеров, используются на судах и локомотивах. Куда будет установлен этот, пока не ясно: возможно — на мотоцикл, возможно — на грузовой многовинтовой дрон.


Хотелось бы поподробнее про суда и локомотивы с подобными двигателями, а также про то, как японцы себе представляют 2-тактный двигатель с клапанами в ГБЦ, особенно с учётом изображения на втором рисунке такта впуска при закрытом выпускном клапане (стандартном, для 4-тактного мотора и не применимым, даже гипотетически, для 2-тактного. Напомню, 2-тактный мотор, это когда впуск и выпуск одновременно происходят).
Fedotov, к сожалению, суда и самолёты находятся вне тематики нашего ресуса. В каждом цилиндре вспышка смеси происхдит каждые 360 градусов, в 4-тактном двигателе это невозможно.
Omoimot_news, отрадно видеть что тематика Вашего ресурса охватывает локомотивы. Но мне все равно интересно, как в 4-тактном двигателе с изображения номер 2, каждые 360 градусов может что-то взрываться?
Fedotov,
ВМТ 0: начало рабочего хода
ВМТ+50 градусов: открываем впускной и выпускной клапан. Из-за компрессора выхлопные газы не идут во впуск, поток выхлопных газов начинает выходить через выпускной клапан и разгоняет спиральку воздуха (без бензина) вниз, а выхлопные вверх
ВМТ+180=НМТ: клапана закрыты и впуск и выпуск
ВМT [+180, +320]: несколькими порциями (от 1 до 5ти) впрыскиваем топливо под давлением (50-100атм)
ВМT [+320; +10]: поджигаем смесь свечкой
Ключевые технологии:
- это работает только с компрессором, с турбиной возможно будет, но только на больших оборотах сразу
- это работает только с непосредственным впрыском, если будет топливо во впуске оно воспламенится при продувке
- это не работает на низких холостых оборотах (или сжатым воздухом запускать или очень быстрым стартером
ihanick, Электрический компрессор мог бы решить часть проблем, но есть одна проблема - продувка цилиндра через клапаны мне представляется странной.
Fedotov, без моделирования и экспериментов, там чёрт ногу сломит, как смесь закручивается. Т.е. моно сделать чтобы продувка была хорошая.
без окон:
- можно использовать поршни маленькие, как с 4т современных
- можно использовать узкие кольца и не бояться, что их сломает об огромные окна
- т.к. компрессор заталкивает воздух во впуск, то смесь можно не пропускать мимо коленвала и шатунов: нет проблемы с экологией смазкой и детонацией на высоких степенях сжатия.
Мотор странный, на мотоциклетный не похож (ну только если представить, что они сделают очень тихий мотор который всегда равномерно жужжит на 6-7тыс + электромотор). Может действительно квадракоптер грузовой или пулемётный