Вслед за базовой версией 889-кубового нэйкеда производитель обновил «премиальный» MT-09 SP. Изменения коснулись двигателя, рамы, маятника и геометрии мотоцикла, вес которого был снижен, он также получил новый пакет электроники, взятый у Yamaha R1 M практически без изменений.
Сделать мотор более экологичным удалось путём переноса инжекторов ближе ко впускным клапанам. Это улучшило эффективность сгорания топливно-воздушной смеси, сделав выхлопные газы менее токсичными, а также уменьшив расход горючего.
Подгонку мотора Yamaha MT-09 SP 2021 модельного года под требования норматива Евро-5 совместили с увеличением его объёма до 889 кубических сантиметров за счёт прибавки в ходе поршня на 3 миллиметра. Это позволило повысить его мощность до 119 л. с. Крутящий момент также вырос, на 7 процентов, его пиковое значение достигается теперь на полторы тысячи оборотов в минуту раньше (92 Н-м при 7000 об/мин) по сравнению с силовой установкой СР3 2020 года. На МТ-09 SP 2021 устанавливается двунаправленный квикшифтер и новое проскальзывающее сцепление.
Помимо изменений в силовой установке, главной новостью стало использование на MT-09 SP набора электронных помощников на основе 6-осевого инерциального акселерометра, взятого с Yamaha R1 M. Система включает АБС, угловой трекшн-контроль, слайд- и вилли-контроль, 3,5-дюймовый TFT-дисплей, ну и, конечно, мультирежимную электронную ручку газа.
Подвеска SP состоит из полностью регулируемого моноамортизатора Öhlins и перевёрнутой вилки KYB с алмазоподобным покрытием рабочей поверхности перьев и полной регулировкой, включающей настройку быстрого и медленного сжатия. У мотоцикла новая, облегчённая на 2,3 килограмма, рама, новый алюминиевый маятник увеличенной жёсткости и укороченная колёсная база.
Как и у Yamaha MT-09 SP текущего года, у новинки алюминиевые 10-спицевые колёсные диски, самые лёгкие среди серийных мотоциклов, их толщина в некоторых местах составляет всего 2 миллиметра. Их установка позволила вычесть 700 граммов из веса мотоцикла, и, что даже более важно, из его неподрессоренной массы. Всего снижение массы для модели 2021 года составило 3 килограмма: снаряжённый вес равен 190 кило.
Новый MT-09 SP будет доступен только в одном цвете Icon Performance и появится в салонах Yamaha с марта 2021 года. Цена нового мотоцикла пока уточняется.
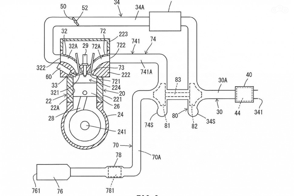
Необходимо также добавить, что, судя по всему, Yamaha ведёт работу над абсолютно новым MT-09 SP. В сети буквально несколько дней назад появились «патентные» изображения турбированного трёхцилиндрового рядного двигателя на основе стандартного мотора CP3 и даже «шпионские» фотографии уже готового прототипа.
Благодаря просочившейся информации стало известно, что добавление турбины позволило увеличить мощность двигателя до 180 «лошадей», а тягу — до 177 «Ньютонов», причём с совсем небольшой турбо-ямой: при раскрутке с 3000 оборотов до достижения 90-процентной мощности задержка прироста мощности составила всего 1 секунду.
Вряд ли стоит ждать появления нового спортбайка Yamaha c турбированной 3-цилиндровой силовой установкой: использование турбин и компрессоров в настоящее время запрещено правилами всех профессиональных гоночных состязаний. Таким образом Yamaha MT-09 является наиболее подходящим кандидатом для применения нового турбомотора, а так как большая мощность требует использования хорошей подвески, то, судя по всему, именно MT-09 SP и станет значительно мощнее в ближайшем будущем. Может быть, уже в следующем году.








У них как будто пожизненный контракт с японским ноунейм-производителем на тормоза, не могут на топовую версию Брэмбы поставить и электронный преднатяг сзади. Может решили так сбросить с цены несколько сотен баксов. В общем, как всегда, японская компромисная шляпа получилась
Как всегда, редактор Omoimot переврал все цифры и факты.
1) Объём двигателя новых мотоциклов семейства MT-09 составляет 890 кубов, а не 889. Диаметр цилиндров остался точно таким же каким и был - увеличение объёма достигнуто за счёт увеличения на 3 мм хода поршней.
2) Заявленная производителем максимальная мощность нового двигателя - 119 л.с, а не 117. Заявленный максимальный крутящий момент - 93 Нм, а не 92.
3) Заявленная снаряжённая масса нового поколения составила 190 кг, а не 189 - соответственно, снижение по сравнению с предыдущим поколением составило 3 кг, а не 4.
На официальном европейском сайте Yamaha указано 889 кубических сантиметров.
Вес и мощность поправили, спасибо.