Патентные документы говорят о том, что американский производитель будет устанавливать на новые модели систему, которая будет замедлять мотоцикл без участия водителя.
Новая технология будет работать иначе, нежели адаптивный круиз-контроль, который с этого года уже устанавливается на несколько моделей верхнего ценового сегмента. Автоматический тормоз Harley-Davidson будет брать на себя контроль над мотоциклом только в аварийных ситуациях.
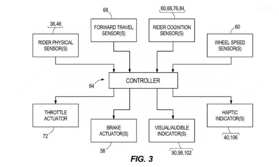
Система будет включать несколько сенсоров, которые также смогут быть использованы и адаптивным круиз-контролем, они будут отслеживать обстановку на дороге, а состояние водителя будет оцениваться при помощи камеры на приборной панели и датчиков на рукоятках руля и седле.
Ещё одна камера сможет быть установлена внутри шлема и направлена на глаз водителя, определяя, открыт ли он и куда направлен. Система будет использовать визуальные, слуховые и тактильные предупреждения об опасных ситуациях, а если водитель не будет реагировать на них, она начнёт замедлять мотоцикл вплоть до его полной остановки.
Патент описывает ещё одну полезную функцию нового электронного помощника: он будет анализировать динамику торможения и при необходимости сможет увеличить давление в тормозном контуре для ускоренной остановки вашего Harley.



Интересно, а равновесие кто будет держать, если райдер в отключке? Или условная "электричка" в конце аккуратно плюхнется на бок?
fedotov_ilya, Два колесика по бокам будут выдвигаться и недопускать падения на бок "вашего Harley".
Schultz, ну Турер какой-нибудь ещё ладно. А вот фэт бой с колесиками засмеют, конечно.
fedotov_ilya, С маркетологов Харлея станется, они эти колесики сделают на хромированных литых дисках подстать дискам мотоцикла, и какой нибудь AVON выпустит эксклюзивную резину с вайт волом для них.
Камеры в шлем - это вчерашний день. При вступлении в хог можно сразу вживлять чип в мозг в порядке инициации. Тормозишь без инпут лага и сгибания пальцев. Зис из фьючер.